应用领域

高环境温度下的SiC功率转换器件

半导体技术的最新进展表明,碳化硅(SiC)具有一些独特的财产,使其成为具有高温、高速和高压操作能力的半导体器件的一种有前途的材料。

半导体技术的最新进展表明,碳化硅(SiC)具有一些独特的财产,使其成为具有高温、高速和高压操作能力的半导体器件的一种有前途的材料。与传统的硅基器件相比,SiC器件具有几个优势,包括更高的效率和功率密度,使其适合在航空航天、汽车和能源行业等恶劣环境中使用。
然而,开发用于高温应用的SiC基器件在封装和集成方面带来了挑战,因为需要用于管芯连接、引线接合和可以在高温下工作的辅助电路组件的热稳定材料。当涉及到JFET和SBD等功率器件时,测试通常在高达450℃的高温下进行,使用热稳定封装和自动设置。尽管如此,在400°C下用SiC器件测试后,主转换电路在局部高温下工作的能力显著降低了整体温度。

实验过程中使用的组件
DC-DC降压转换器是一种流行的电力电子电路,用于将DC电压电平降压到较低电平。它由开关器件(通常是MOSFET或BJT)、二极管、电感器以及输入和输出电容器组成。电感器通过在开关器件的接通时间期间存储能量并在断开时间期间释放能量,在转换器的操作中起着至关重要的作用。电感器通过过滤由开关动作引起的输出纹波,有助于保持平稳和恒定的输出电压。

JEDEC TO-258封装是一种用于大功率半导体器件的通孔金属封装,这些器件经过镀镍以提供额外的导热性和导电性,有利于高温操作。由于缺乏能够在如此高的温度下工作的合适电容器,因此不可能在转换器电路中使用。因此,该电路不包括任何滤波电容器,这可能影响了其性能和稳定性。


SiC在高温下的直流特性
● 测量设置

图1是所使用的实验装置的配置示意图。将被测SiC器件(DUT)放置在温度控制的烘箱内,以调节DUT周围的环境温度。这使得它能够测量设备在不同温度条件下的性能。
该设置包括两个电源,一个用于提供漏-源电压(Vds),另一个用于供应栅极-源极电压(Vgs)。漏-源电压(Vds)从0V逐渐增加到20V,同时保持栅极-源极电压(Vgs)的不同值。为了提供栅极电压,电源提供两个电压电平,较高电平用于栅极电压,较低电平用于关断JFET。使用来自东芝公司的光学隔离栅极驱动器TLP-250将栅极电压施加在DUT上。此外,能够产生任意宽度的栅极脉冲的脉冲发生器被设置为输出40s的ON脉冲,以防止器件由于导通电流而自加热。
然后,使用外部触发端子(extTrig)由脉冲发生器的栅极信号触发数字存储示波器,该外部触发端子进一步用于数据采集。为了处理和存储数据,使用了一台带有LabView的PC。

● 碳化硅JFET特性

SiC-JFET的直流特性在高温下SiC器件的功能中起着重要作用,可以看出阈值栅极电压随温度变化。这可以在图2中说明,其中的曲线图显示了栅极电压为25℃、200℃和450℃时JFET-SiC的Vds和Ids特性。

这里,SiC-JFET在室温下具有类似五极体的直流特性,此外,在0时的Vgs下的饱和电流为3.5A。然而,由于-12V的阈值栅极电压和1.33的低漏极-源极电阻,线性区域的斜率变得很陡。另一方面,图3显示,在200℃的温度下,阈值栅极电压为-13V。

在450℃的极高温度下,夹断漏极电压不能在Vgs=0V时得出结论,如图4所示,然而,在25℃时,输出电流在原始值的20%左右饱和。阈值电压在-15V左右变得更负。或者,当施加-20V的阈值电压时,泄漏电流呈指数级上升,如图5所示。这简单地表明,SiC JFET有能力在400℃下保持在“关”状态,但具有高漏电流。


结论
传统的电子元件塑料封装无法承受高温,因此,可以承受热应力的封装被用于包含SiC裸片。在不同的环境温度下对SiC JFET和SBD进行测试,以评估其性能。结果表明,SiC JFET的可用电流额定值随着温度的升高而降低。在450℃时,额定电流降至室温下额定电流的20%。阈值栅极电压随着温度的升高而略低,尽管它可以通过在负方向上将栅极电压调节高几伏来管理。SiC-SBD表现出随温度增加的串联电阻,并且随着温度的升高,正向电压降与切入电压降相互作用。
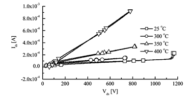
另一方面,实验结果表明,SiC JFET在测试温度范围内具有优异的开关特性。SiC JFET和SBD的电感开关特性都没有随着温度的升高而显著恶化。然而,SiC JFET的极快导通操作导致SiC SBD中的反向位移电流,这必须在栅极驱动器电路的设计中解决。此外,使用SiCJFET、SiCSBD和电感器设计并实验了一种适用于高温的dc-dc降压转换器。对dc-dc降压转换器进行了评估,该转换器在25℃至450℃的极高环境温度范围内运行。虽然漏极-源极电阻随着温度的升高而增加,功率转换效率下降,但效率的下降并不显著。此外,与转换器的输出电压相比,漏极和源极之间的电压降的增加相对较小。

Copyright © Copyright ©深圳市成芯源科技有限公司 | 技术支持:万广互联